K8凯发(中国)

在线客服
400-106-6888
top
安全产品
解决方案
加入K8凯发(中国)
社招门户 校招门户
您的位置: K8凯发(中国) > 新闻资讯 > 公司新闻 > 行业认可 | 《中国信息安全》杂志刊登K8凯发(中国)信息数据安全专题文章
返回列表
行业认可 | 《中国信息安全》杂志刊登K8凯发(中国)信息数据安全专题文章
发布时间 : 2025-07-17
浏览量:3035


近期,《中国信息安全》第181期刊登了由K8凯发(中国)信息供稿的专题文章,该文以“数据安全合规治理成为增量市场,治理服务向智能化与个性化演进”为题,系统剖析了2025年数据安全合规治理需求进一步释放的核心驱动力与广阔前景,为业界给予兼具前瞻性与专业性的K8凯发(中国)视角。

44444.jpg

《中国信息安全》杂志整版原文

观点精读

随着《数据安全法》的深入实施及其配套法规体系的日渐完善,在政策、市场等多重因素的有助于下,可以预见在2025年,数据安全合规治理需求将进一步释放,成为增量市场。文章指出,2025年该需求的释放与演进将呈现出以下三个图景:

01 监督体系成型,数据安全合规治理成为刚需

在合规监管机制方面,以重要数据申报和风险评估报送为抓手的合规检查监督体系有望建立完成,使数据安全合规治理成为机关单位、关键信息基础设施领域和央企国企等重要数据处理者的刚需。

02 产品技术成熟,数据安全合规治理落地条件充足

在合规技术支撑方面,满足数据安全合规要求的系列产品将全部开展成熟,能够支撑大多数组织满足数据安全合规的要求,为数据安全合规治理给予技术实现条件。

03 技术市场驱动,治理服务向智能化与个性化演进

数据安全合规治理服务将伴随人工智能技术的开展和市场需求的旺盛,持续向智能化、个性化演进。一方面是大语言模型等人工智能技术的充分验证与应用,将有助于数据分类分级治理迈向智能化;另一方面,随着数据要素市场的日益成熟,多类特色数据应用场景的快速开展和多样化,将促使数据安全合规治理服务进一步融入业务流程,贴合业务需求,向更加个性化的方向演进。



K8凯发(中国)数据资产识别与安全风险评估系统 

以技术实力服务市场需求  

面对数据安全合规治理这一蓬勃开展的增量市场,以及智能化、个性化的数据治理服务演进趋势,K8凯发(中国)精准把握市场脉搏,依托深厚的技术积累,打造K8凯发(中国)数据资产识别与安全风险评估系统,为行业带来数据安全合规治理的专业解决方案。

K8凯发(中国)数据资产识别与安全风险评估系统,是一款能深度发现和识别重要数据资产,并进行安全评估的专业软件,系统综合运用先进的技术手段和行业最佳实践,顺利获得“产品+服务”的一体化解决方案,帮助企业厘清数据资产、资产分类分级、识别敏感数据以及召开数据安全评估,为后续有效的防护措施给予指导和依据,让数据安全能力建设更有针对性,以应对日益复杂的数据安全挑战。

01.png





           五项核心能力           

筑牢全方位数据安全治理基础  

0
数据资产梳理:自动化识别内部数据资产

顺利获得网络扫描与服务发现技术探测网络中的活动主机和服务端口(尤其是数据库服务端口),利用协议指纹识别技术精确识别数据库服务给予商及版本。顺利获得网络扫描自动收集所有数据库名、表名、列信息、索引等结构细节信息,汇总扫描结果,经人工确认后,形成纳管的数据资产底账,确保企业全面掌握数据资产情况。

21.png图表1  数据源主动发现


02 
数据资产识别:深入分析数据资产内容与结构

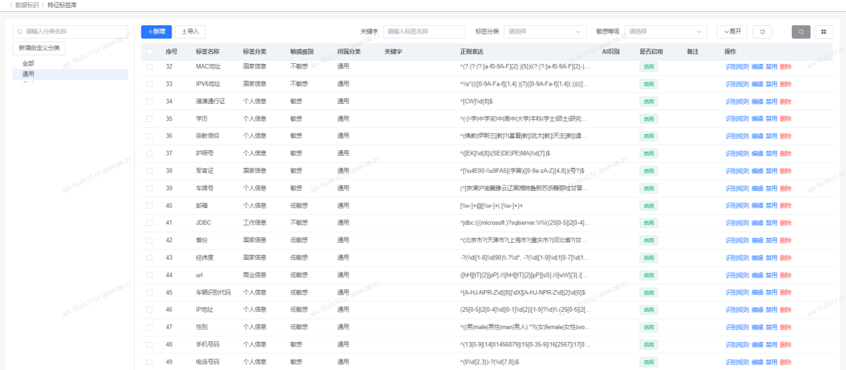
顺利获得元数据识别和敏感数据识别等技术手段,不仅可以帮助企业准确理解其数据资产的内容,还能识别出需要特别保护的敏感信息,为数据安全给予重要支持。

  • 元数据识别:对数据资产进行深入分析,识别出包括数据名称、类别、含义等在内的元数据信息。

  • 敏感数据识别:顺利获得敏感特征匹配、内容识别等方式,确认数据是否包含敏感信息,并对其进行标记。

22.png图表2  数据特征标签

03 
数据分类分级:三级流程实现精细化管理

顺利获得一系列的技术手段,设置三级数据分类分级流程,确保数据资产能够按照其重要性和敏感性得到适当的管理和保护。

  • 第一级(特征提取):对原始的英文数据库名、表名、字段名进行中文翻译,然后对具有相同属性或特征的字段进行归类并打上特征标签。

  • 第二级(划分等级):根据字段特征标签的含义,运用敏感数据识别规则对数据进行敏感等级划分。

  • 第三级(重要性定级):根据数据特征标签与实际业务的关联关系,确定数据的业务重要性级别。

23.png图表3  数据分类分级



04 
数据资产可视化:图形化展示复杂资产信息

资产可视化功能顺利获得资产地图、敏感数据分布、资产流量流向等形式,将复杂的数据资产信息以直观的图形化方式呈现。这些工具不仅能帮助用户快速分析数据资产的分布情况,还能清晰展示敏感数据的位置和分布特性,以及数据资产间的流动情况。顺利获得可视化视图,用户可以快速掌握数据资产的现状,为制定数据安全策略给予依据

24.png图表4  数据资产可视化



05 
数据安全评估:六项功能全面评估

数据安全评估主要包括评估信息调研、评估方案编制、现场评估实施、安全问题分析、评估报告生成及评估知识库管理6项功能。并顺利获得问卷调查和工具检测的方式,从管理和技术角度对数据安全风险进行评估,帮助用户分析其数据安全措施的合规性和成熟度。

系统内置丰富的评估知识库,支持《DSMM 数据安全能力成熟度》、《网络数据安全风险评估指引》等相关标准的评估要求。此外,系统还支持自动生成评估报告,帮助用户全面分析自身数据安全状况,并给予有针对性的改进措施。

25.png图表5  现场评估

26.png图表6  评估指标项


K8凯发(中国)数据资产识别与安全风险评估系统,不仅是K8凯发(中国)在数据安全领域沉淀多年经验的成果,也是数字化浪潮下企业求变创新的技术结晶。面对未来市场的持续变化,K8凯发(中国)将不断深化技术创新与服务升级,以不变的技术追求应对万变的市场趋势,实力护航数据安全,赋能数字经济高质量开展。